
1- DRILL STEM SUBS
Our Drill Stem Sub designed and manufactured according to API 7-1 Specification (TYBE A / TYBE B / TYBE C)

2- TUBING AND CASING COUPLINGS
Our tubing and casing couplings designed and manufactured according to API 5CT Specification (EUE ; NU , BTC , SC ) Connections from 2 7/8” to 9 5/8” OD

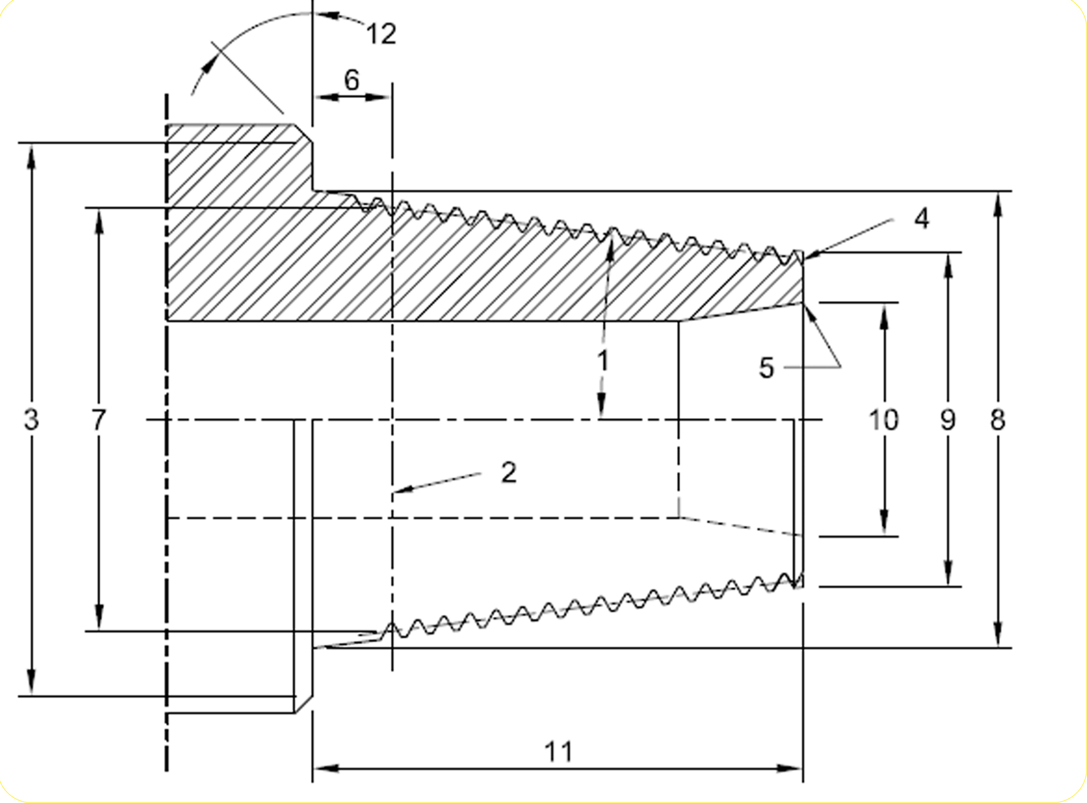
3- Rotary Shoulder Connections

Our Machine shop provides a wide range of rotary shoulder connections repairs and rethreading
- Drill pipes
- Heavy weight drill pipes
- Drill collars
- Rotary Subs

The pipe connections threaded and repaired according to API 7-1 & API 7-2 Specifications and with the following types:
- Numbered Connections (NC)
- XH
- Full Hole (FH)
- API Regular (Reg)
- PAC
4- Tubing and Casing Threading

Our Machine shop provides a wide range of tubing and casings connections repairs and rethreading according to API 5CT & API 5B Specifications and with the following types:
- Buttress connections
- EUE connections
- NU connections
- Round thread connections
- Premium connections such as vam , vam top , Dino Vam